ZEST AND BOLT - page 421

ENGINE 1.3L QUADRAJET (90PS)
84
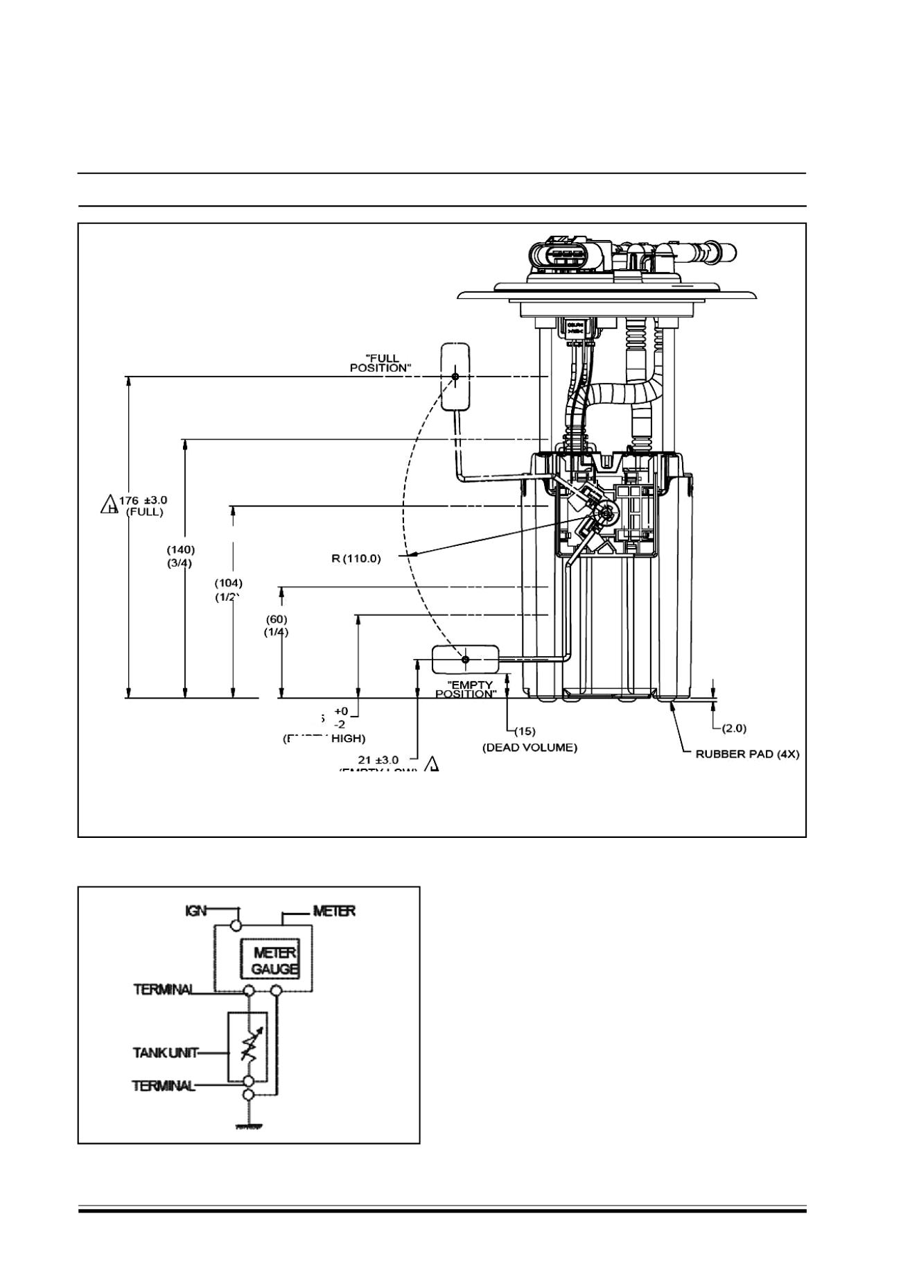
Fuel liquid level
Full
3/4
Half
1/4
Empty High
Empty
Low
Dead Volume
(1.4 Lit)
1...,411,412,413,414,415,416,417,418,419,420 422,423,424,425,426,427,428,429,430,431,...
Powered by FlippingBook